中银基金董事长离任,公司主动权益管理规模不升反降,产品频现“保壳”操作
摘要:
红星资本局6月18日消息,6月17日,据中银基金公告,公司董事长章砚正式告别任职近八年时间的董事长职位,该职务暂由执行总... 红星资本局6月18日消息,6月17日,据中银基金公告,公司董事长章砚正式告别任职近八年时间的董事长职位,该职务暂由执行总裁张家文代任。
红星资本局注意到,此次高层人事调整前,中银基金就因频繁为旗下产品“保壳”受到外界关注。简单来说,就是通过修改《基金合同》中清盘条件的条款,或通过向持有人提议持续运作,为规模过小的基金产品完成“保壳”操作。
Wind数据显示,截至今年一季度末,中银基金的公募管理规模为6509.96亿元,共有60只主动权益基金(不同份额合并计算,下同),规模低于5000万元“清盘红线”的有16只。
董事长任职近八年后离任
公司主动权益管理规模不升反降
资料显示,章砚是英国伦敦大学伦敦政治经济学院公共金融政策专业硕士,历任中国银行(601988.SH;3988.HK)总行全球金融市场部总监,总行金融市场总部、投资银行与资产管理部总经理等职务。2017年8月,中银基金原董事长白志中离任,章砚出任公司董事长。
直至本次离任,章砚担任中银基金董事长一职时长接近八年。据中国基金报,对于章砚的下一站去向,有知情人士称其将回归中行。
章砚、张家文过往履历 截图自中银基金此前产品招募说明书
与章砚类似,代任董事长职务的张家文在中国银行也有着丰富的任职履历,历任中国银行苏州分行太仓支行副行长,苏州分行风险管理处处长,苏州分行工业园区支行行长,苏州分行副行长、党委委员。2013年,张家文加入中银基金,现任公司执行总裁。
资料显示,中银基金成立于2004年,目前股东分别为中国银行和贝莱德投资,持股比例分别为83.5%、16.5%。背靠国有大行与全球资管巨头,中银基金的公募管理规模在2017年三季度末突破3000亿元后一路飙升,截至今年一季度末已达到6509.96亿元,在持牌公募中排名第17。
不过,中银基金的管理规模增长出现较大失衡。与2017年三季度末对比,固收类产品(含债基、货基)规模从不足2900亿元增至今年一季度末的6200亿元,占比超过95%;但主动权益类产品(含混合型、股票型)规模不升反降,从376亿元跌至265亿元。
截至今年一季度末,中银基金旗下共有60只主动权益基金,规模低于5000万元“清盘红线”的就有16只。
从“清盘王”变“保壳王”
多次向基民提议持续运作“迷你基”
红星资本局根据wind统计发现,2023年中银基金旗下共有14只基金清盘,数量排名同业第一,其中主动权益基金有11只,清盘原因均为“连续50/60个工作日出现基金份额持有人数量不满200人或者基金资产净值低于5000万元情形”。
2024年以来,中银基金清盘的基金数降至7只,然而通过召开持有人大会“保壳”的基金数量却飙升,从曾经的行业“清盘王”,变成“保壳王”。据统计,2024年中银基金有超过10只基金,或通过修改《基金合同》中清盘条件的条款,或通过向持有人提议持续运作,最终完成了“保壳”操作,成为公募行业“保壳”数量最多的公司之一。
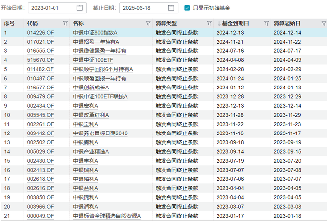
2023年以来,中银基金共有21只基金清盘 截图自wind
红星资本局梳理发现,2025年,中银基金旗下中银中证1000指数增强、中银数字经济混合、中银新能源产业股票、中银鑫利灵活配置、中银消费主题混合、中银健康生活混合、中银量化精选这7只基金先后发布公告,向持有人提议持续运作,但多数产品因未达到会议召开条件,持有人未能就公司提议进行表决。
举例来看,6月18日,中银基金公告称,截至2025年1月20日,旗下中银量化精选已连续60个工作日资产净值低于5000万元,基金管理人决定召开持有人大会,审议《关于中银量化精选灵活配置混合型证券投资基金持续运作的议案》。
然而,早在2024年9月,中银基金就曾召开过持有人大会,成功修改了中银量化精选的《基金合同》中关于清盘条件的条款,避免了因规模过小而自动清盘的情况。
对于基金公司的“保壳”行为,此前有公募人士向红星资本局介绍,在新发产品不好做的情况下,持营因相关产品有过往业绩参考与较低成本而更具优势,此外由于产品的动态发展,先占据着赛道再等待机会也是一种策略。
红星新闻记者 蒋紫雯
编辑 肖世清
